首页
关于新宇
公司介绍
企业文化
厂房展示
产品展示
圆柱滚子轴承
圆锥滚子轴承
调心滚子轴承
剖分调心滚子轴承
角接触球轴承
推力球轴承
深沟球轴承
特殊轴承
应用领域
生产展示
现货查询
技术&服务
新闻动态
新宇动态
行业新闻
联系我们
首页
>
产品目录
>
圆锥滚子轴承
> 单列圆锥滚子轴承(英制系列)
返回
单列圆锥滚子轴承(英制系列)
根据关键词
根据型号
内径:
外径:
宽度:
高级搜索
实物图
二维图
下载PDF
单列圆锥滚子轴承(英制系列)
QDY
单列圆锥滚子轴承(英制系列)
QDY
发送询价
添加到收藏夹
打印页面
高级搜索
系列对比
>>
<<
选择
询价
轴承型号
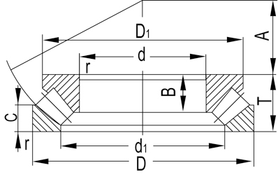
外形尺寸(mm)
基本载荷(kN)
极限转速(rpm)
作用点
接触面与倒角尺寸(mm)
计算系数
重量 (kg)
d
D
T
B
C
r 1.2min
r 3.4min
动态
静态
脂润滑
油润滑
a
da max
db min
Da max
Db min
ra max
rb max
e
Y
Y0
参考
HH221440/HH221410
95.25
190.5
57.15
57.531
46.038
7.9
3.2
440
602
2300
3400
42.5
115
119
168
179
7.9
3.2
0.33
1.79
0.99
7.37
42381/42584
96.838
148.43
28.575
28.971
21.433
3.6
3
143
225
2300
3400
31.9
108
108
133
140
3.6
3
0.49
1.22
0.67
1.64
90381/90744
96.838
188.913
50.8
46.038
31.75
3.6
3.2
276
357
2300
3400
63
108
115
161
179
3.6
3.2
0.87
0.69
0.38
5.68
52387/52637
98.425
161.925
36.512
36.116
26.195
3.6
3.2
180
288
2200
3300
36
110
114
142
151
3.6
3.2
0.47
1.26
0.69
2.74
685/672
98.425
168.275
41.275
41.275
30.162
3.6
3.2
224
349
2200
3300
38.6
110
115
147
156
3.6
3.2
0.47
1.28
0.7
3.51
779/772
98.425
180.975
47.625
48.006
38.1
3.6
3.2
288
438
2100
3200
39.5
110
120
156
166
3.6
3.2
0.39
1.56
0.86
5.2
HH421246/HH421210
98.425
184.15
63.5
63.5
52.388
6.4
3.2
445
687
2100
3200
46.2
115
117
161
174
6.4
3.2
0.37
1.6
0.88
7.45
866/854
98.425
190.5
57.15
57.531
44.45
3.6
3.2
353
504
2100
3200
40
110
120
162
172
3.6
3.2
0.33
1.79
0.99
6.99
HH221442/HH221410
98.425
190.5
57.15
57.531
46.038
3.6
3.2
440
602
2100
3200
42.5
110
119
168
179
3.6
3.2
0.33
1.79
0.99
7.18
HM321245/HM321210
99.212
171.45
49.213
49.213
38.1
3.6
3.2
295
434
2200
3200
36.6
110
116
153
162
3.6
3.2
0.34
1.75
0.96
4.45
LM720646/LM720611
99.975
144.975
25.4
25.4
19.05
1.6
1.6
125
216
2200
3200
30.1
107
113
134
140
1.6
1.6
0.46
1.31
0.72
1.34
HM220149/HM220110
99.975
156.975
42
42
34
7.9
3.6
245
396
2200
3200
32.4
112
120
143
150
7.9
3.6
0.33
1.8
0.99
2.9
944A/933
99.975
210
67
66.675
53.975
3.6
3.2
450
674
2200
3200
47.9
111
135
181
193
3.6
3.2
0.33
1.84
1.01
10.9
HH224334/HH224310
99.975
212.725
66.675
66.675
53.975
3.6
3.2
513
699
2200
3200
47.6
111
134
190
201
3.6
3.2
0.33
1.84
1.01
10.9
HH221447/HH221410
99.982
190.5
57.15
57.531
46.038
6.4
3.2
440
602
2200
3200
42.5
117
119
168
179
6.4
3.2
0.33
1.79
0.99
7.06
JM720249/JM720210
100
155
36
35
28
3
2.5
191
325
1900
2800
36.8
118
108
140
150
3
2.5
0.47
1.3
0.7
2.45
JHM720249/JHM720210
100
160
41
40
32
3
2.5
239
380
1900
2800
38.2
107
119
144
155
3
2.5
0.47
1.3
0.7
3.07
52394X/52637
100
161.925
36.513
36.116
26.195
3.6
3.2
180
288
1900
2800
36
111
114
142
151
3.6
3.2
0.47
1.26
0.69
2.67
783/772A
100
174.625
47.625
48.006
38.1
3.6
3.2
288
438
1800
2700
39.4
111
120
156
166
3.6
3.2
0.39
1.56
0.86
4.57
783/772
100
180.975
47.625
48.006
38.1
3.5
3.3
258
375
1800
2700
39.1
111
123
160
172
3.5
3.3
0.39
1.6
0.86
4.96
上一页
1
2
3
4
5
6
7
...
47
48
下一页
>>
<<
产品目录
圆柱滚子轴承
单列圆柱滚子轴承
双列圆柱滚子轴承
四列圆柱滚子轴承
单列满装圆柱滚子轴承
双列满装圆柱滚子轴承
圆锥滚子轴承
单列圆锥滚子轴承(英制
双列圆锥滚子轴承(英制
双列圆锥滚子轴承,双外
深沟球轴承
调心滚子轴承
剖分调心滚子轴承
角接触轴承
单列角接触球轴承
双列角接触球轴承
四点角接触球轴承
推力滚子轴承
推力调心滚子轴承
推力圆柱滚子轴承
特殊轴承
瓦房店新宇轴承制造有限公司
:86 0411 85695677
:0086-551-63660196
公司信息
关于新宇
资讯报道
质量控制
工厂展示
主打产品
深沟球轴承
圆柱滚子轴承
调心滚子轴承
圆锥滚子轴承
角接触球轴承
最新信息
目录下载
特价信息
应用领域
石油机械
冶金机械
水泥机械
工程机械
联系我们
电话:86 0411 39110330
传真:86 0411 39110330
邮箱:xinyuzhoucheng@163.com
网址:www.xyzc-bearing.com
电话 : 86 0411 39110330
联系我们 :
在线订阅
© 2017 瓦房店新宇轴承制造有限公司 版权所有
辽ICP备17011448号
询价
产品目录:
联系人 :
国家 :
电话 :
公司名称 :
电子邮件 :
内容 :
验证码: